ZDIyon sèl -kouch ponp sispansyon aman
ZDI yon sèl -kouch ponp sispansyon aman se yon kalite ponp santrifujeur ki lajman ki itilize nan endistri min, endistri jenerasyon pouvwa, endistri chimik, ak lòt endistri yo. Li fèt pou okipe sispansyon abrazif ak korozif ak kontni solid ki wo.
Boîtier ponp lan fèt ak bon kalite-fè duktil epi li fèt ak yon estrikti sèl-kouch. Konsepsyon sa a diminye chans pou flit ak pwolonje lavi sèvis ponp lan. Impuls, plak mete, ak revètman volute yo fèt ak materyèl ki reziste -, ki asire rezistans ponp lan nan kondisyon travay difisil.
Ponp sa a ekipe ak yon kouple arbr fleksib ki konekte motè a ak ponp lan. Li ka absòbe chòk la ak Vibration ki te koze pa motè a epi pwolonje lavi sèvis ponp lan. Ponp lan tou gen yon estrikti senp ak serye, ki fè li fasil pou kenbe ak reparasyon.
Ponp sispansyon ZDI yon sèl -kouch la disponib nan diferan gwosè ak konfigirasyon pou satisfè kondisyon divès kalite. Li se souvan itilize nan aplikasyon tankou jete deche, dezidratasyon m ', ak pwosesis chimik. Li se tou apwopriye pou ponpe sispansyon gwo konsantrasyon, tankou pwosesis mineral, preparasyon chabon, ak pwosesis métallurgique.
An konklizyon, ponp sispansyon ZDI yon sèl -kouch se yon ponp serye, dirab ak efikas ki lajman itilize nan endistri min, pouvwa ak chimik. Konsepsyon senp ak serye li yo, ansanm ak materyèl ki reziste -li yo, fè li yon chwa ideyal pou manyen sispansyon abrazif ak korozif ak kontni solid ki wo. Se konsa, li kapab yon solisyon pafè pou bezwen endistriyèl ou yo.
Paramèt
- Estrikti bracket ak yon sèl bwat, fasil pou demonte.
- Estrikti orizontal ak yon gwo kapasite chaj.
- Modèl idwolik optimize nan aplikasyon lajè.
- Arbr devwa lou ak pi bon pèfòmans nan fòs.
- Vitès ponp ba ak konsepsyon vitès lineyè pou diminye fwotman ponp lan.
- Divès materyèl anti-abrasion pou diferan aplikasyon.
Karakteristik
- Estrikti bracket ak yon sèl bwat, fasil pou demonte.
- Estrikti orizontal ak yon gwo kapasite chaj.
- Modèl idwolik optimize nan aplikasyon lajè.
- Arbr devwa lou ak pi bon pèfòmans nan fòs.
- Vitès ponp ba ak konsepsyon vitès lineyè pou diminye fwotman ponp lan.
- Divès materyèl anti-abrasion pou diferan aplikasyon.
Estrikti
- Yon sèl etap cantilever estrikti anti-ponp fwotman.
- Aman sèl ak estrikti rale tounen.
- Single konsepsyon aman. Anvlòp la ak plak gad yo ap travay kòm pati anti-abrazif san ankadreman ekstèn.
- Fermeture arbr: sele dinamik, sele anbalaj ak sele mekanik.
- Transmisyon: Dirèk makonnen, V-kondwi senti, kondwi frekans varyab, kouple idwolik.
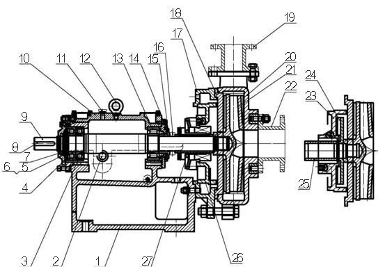
Desen Estrikti a se tankou anba a

| 1. Support | 2. niveleur lwil oliv | 3. kote yo pote | 4. tounen glann kote yo pote | 5. Nwa wonn |
| 6. Lock machin pou lave | 7. sele lwil oliv | 8. Kle | 9. Arbr | 10. kouvèti Support |
| 11. Kouvèti twou lè | 12. Leve vis | 13. Portant | 14. Devan glann kote yo pote | 15. Kouvèti pousye |
| 16. Demantèlman bag | 17. Sipò | 18. Plak gad | 19. Tiyo egzeyat | 20. Aman ponp |
| 21. Impeller | 22. Tiyo pou aspirasyon | 23. Vis-impeller house | 24. Vis-impulseur | 25. Manch manch arbr |
| 26. Chanm sele mekanik | 27. sele mekanik |
MOC
■Materyèl nan eleman pasaj koule ki baze sou mwayen ponpe: Cr26 mete -materyèl rezistan, oswa Cr30, CD4MCu mete-rezistan ak anti-materyèl korozyon, ak lòt materyèl jeneral mete-rezistan.
■Materyèl nan bwat ponp, kouvèti ponp, sipò elatriye pati sipò: gri kas fè 200.
Aplikasyon
■Endistri pouvwa elektrisite, metaliji, min chabon ak materyèl konstriksyon, pou ponpe sispansyon net oswa alkali ak solid.
■Desulfurization pwosesis nan plant tèmik pouvwa.
■Ka sèlman itilize kòm yon sèl ponp ki fonksyone.
Baj popilè: sèl -kouch ponp sispansyon aman, Lachin sèl -kouch aman ponp sispansyon manifaktirè, faktori


